제품소개 Products



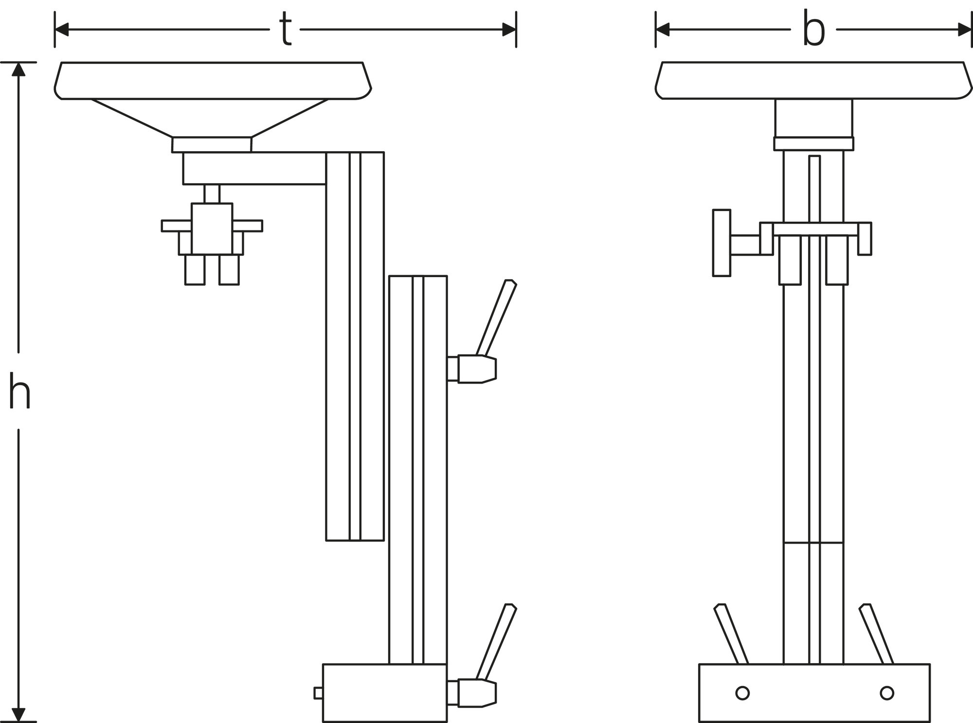
Test attachment for torque screwdrivers 모델명: 7791-2
▶ can be attached to the manual calibration system No. 7791
▶ the torque screwdriver to be calibrated is inserted into the transducer's holder and fixed in place using the universal centre clamps
▶ the force can be applied in a controlled manner using the handwheel
※ For industry and laboratory application only
제품 카달로그
제품문의
| ct no. | Model | Width mm (b) | Range N·m | t | Weight (g) | |
|---|---|---|---|---|---|---|
| 52110291 | 7791-2 | 250 mm | up to 10 N·m | 351 mm | 3739 g |







